
Racing crankshaft suitable for all Piaggio moped models (Ciao, Si, Bravo, Boxer, Grillo).
This finely balanced tuning crankshaft with polished connecting rod and cheeks fits all cylinders with 12 mm piston pins and impresses with its high-quality workmanship.
Due to the longer intake timing, this tuning shaft is ideal for racing mopeds.
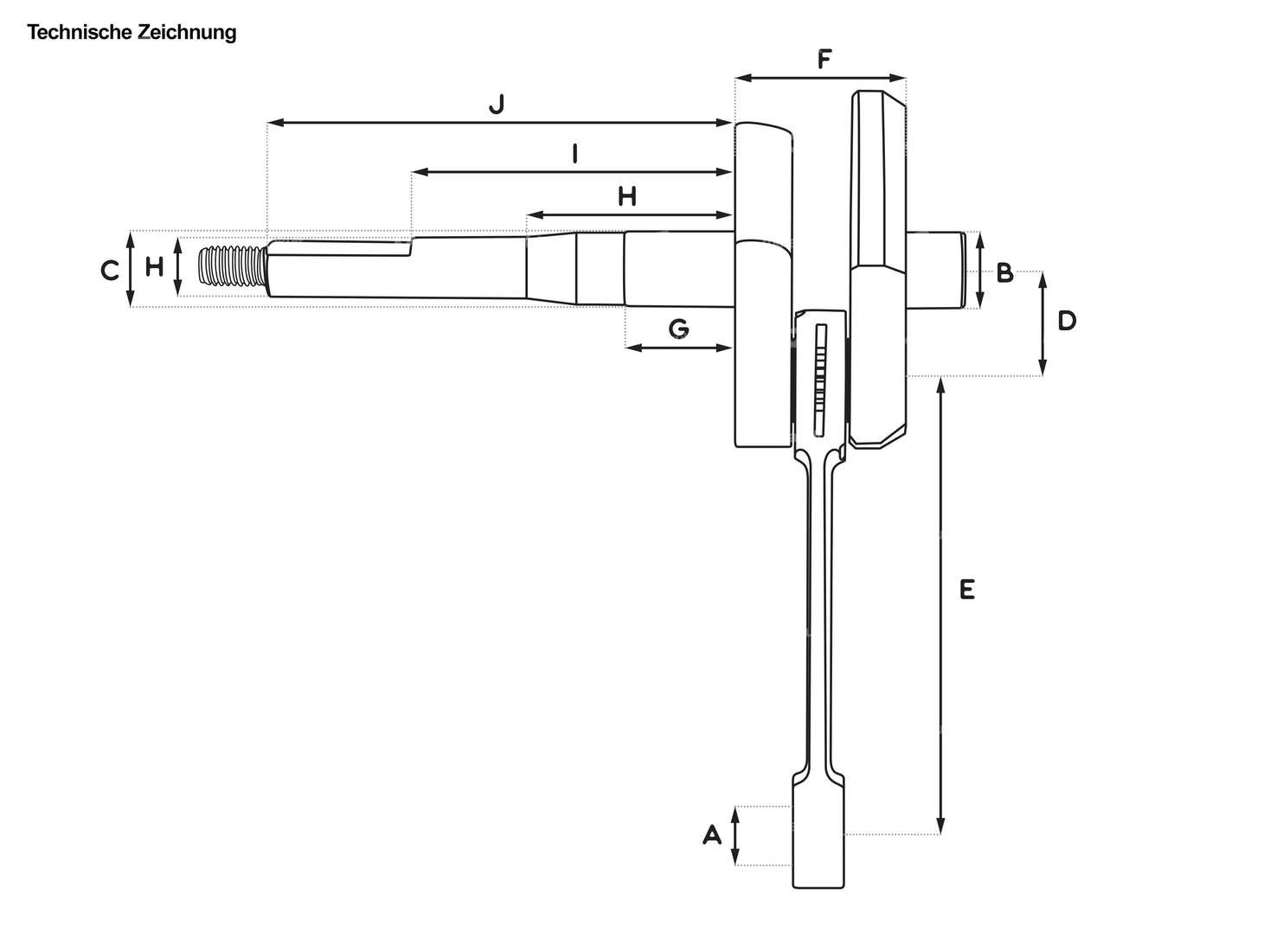
Connecting rod eye (A): 15.0 mm
Ø bearing seat right (B): 15.0 mm
Ø bearing seat rear (C): 15.0 mm
Stroke (2xD): 43.0 mm
Sleeve length (E): 87.0 mm
Width of crank webs (F): 33.0 mm
1st shoulder (G): 21.0 mm
2nd shoulder (H): 44.0 mm
3rd shoulder (I): 63.5 mm
Total length crankpin end (J): 90.0 mm
Ø Vario / clutch pin (H): 12.0 mm
Dimension needle bearing: Ø 12 / 15 x 14.7 mm (axe 12)
Thread: M8 x 1.25 mm
Note: For assembly, a 16 x 0.5 mm shim must be inserted between the standard crankshaft and its main bearings.
When assembling, check that the pole wheel sits properly on the cone. Depending on the batch of crankshaft or pole wheel used, the key may need to be adjusted slightly.
| Manufacturer | Mazzucchelli |
| Material | Steel |
| Area of application | Racing |
| Cheek type | standard |
| Weight | 705 g |
| Crankshaft stroke | 43 mm |
| Ø coupling pin / vario pin | 12 mm |
| Connecting rod length center-center | 87 mm |
| Thread type | M8x1.25 (standard thread) |
| Number of gears | 1 pcs |
| Total length crankpin ignition side | 90 mm, 106 mm |
| Ø crank webs | 69.7 mm |
| Thread length | 16 mm |
| Ø Connecting rod eye | 15 mm |
| Bearing seat right | 15 mm |
| Ø piston pin (B) | 12 mm |
| Ø Bearing seat (ignition side) | 15 mm |
| Dimension needle bearing | 12 / 15 x 14.7 mm (axe 12) |
| Wide crank webs | 33 mm |
| Length 1st paragraph | 21 mm |
| Length 2nd paragraph | 44 mm |
| Length 3rd paragraph | 63.5 mm |
| Ø 1st step (on the coupling side) | 15 mm |
| Ø 2nd shoulder (on the clutch side) | 14.4 mm |
| Ø 3rd step (on the clutch side) | 12 mm |
| Inlet control time | 139 ° |
| Control time before O.T | 81 ° |
| Control time according to O.T | 58 ° |
| Piaggio | Ciao - P , SC , PX , C24 Si Bravo / Super Bravo Boxer Grillo |
Accessories & related products
swiing® ingenious needle roller bearing 12/15/16.2 "Racing" silver cage
Bearing cage: Silver cage · Ø inside: 12 mm · Ø outside: 15 mm · Manufacturer: swiing® ingenious parts · Bearing type: Needle roller and cage assembly · Width: 16.2 mm · Dimension needle bearing: 12/15 x 16.2 · Tomos OEM number: 035548
EUR 17.00
swiing® ingenious puller flywheel | Piaggio Ciao, SI, Bravo, Boxer
Width across flats trigger: 10 mm · Width across flats trigger: 17 mm · Width across flats Screw: 19 mm · Manufacturer: swiing® ingenious parts · Material: Steel · Surface: blackened · Surface: galvanized (blue) · Diameter: 12 mm · Diameter: 24 mm · Total length: 100 mm · Number of components: 3 pcs · Thread type: MF12x1.5 (fine pitch thread) · Thread type: MF17x1 (fine pitch thread) · Area of application: (Dis)assembly tool
EUR 21.90
swiing® ingenious 6202 Bearing dummy 15/35/11 Aluminum
Ø inside: 15 mm · Ø outside: 35 mm · Manufacturer: swiing® ingenious parts · Material: Aluminum · Surface: anodized · Stock number: 6202 · Bearing type: Deep groove ball bearing · Width: 12 mm · Area of application: Special tool · Area of application: Workshop accessories
EUR 12.10
Explore categories from Engine block
Moped fans also bought
Malossi air filter | Piaggio Ciao, SI, Bravo, Boxer
Manufacturer: Malossi · Material: Plastic · Color: black · Total length: 31.2 mm · Filter type: Foam · Width: 95 mm · Height: 88.7 mm · Ø outside: 53.2 mm · Mounting type: Plug connection clamped · Ø Internal connection: 51 mm · Camouflaged: No · Area of application: Tuning
EUR 24.40
SKF 6202 C3 ball bearing 15/35/11
Bearing cage: Sheet steel cage ball-guided · Inner ring width: 11 mm · Manufacturer: SKF · Bearing clearance: C3 · Stock number: 6202 · Bearing type: Deep groove ball bearing · Width: 11 mm · Ø inside: 15 mm · Ø outside: 35 mm · Puch OEM number: 900.4.6202
EUR 12.10
swiing® revival engine overhaul kit with bearing selection | Piaggio Ciao, SI, Bravo, Boxer
Manufacturer: swiing® revival parts · Material: NBR · Material: Oiled paper · Material: Steel · Piaggio OEM number: 112967 · Piaggio OEM number: 113681 · Piaggio OEM number: 182519 · Piaggio OEM number: 241894 · Piaggio OEM number: 480464
EUR 31.30
Not in stock






